Become a premium member for just $35/year and get ad-free access!

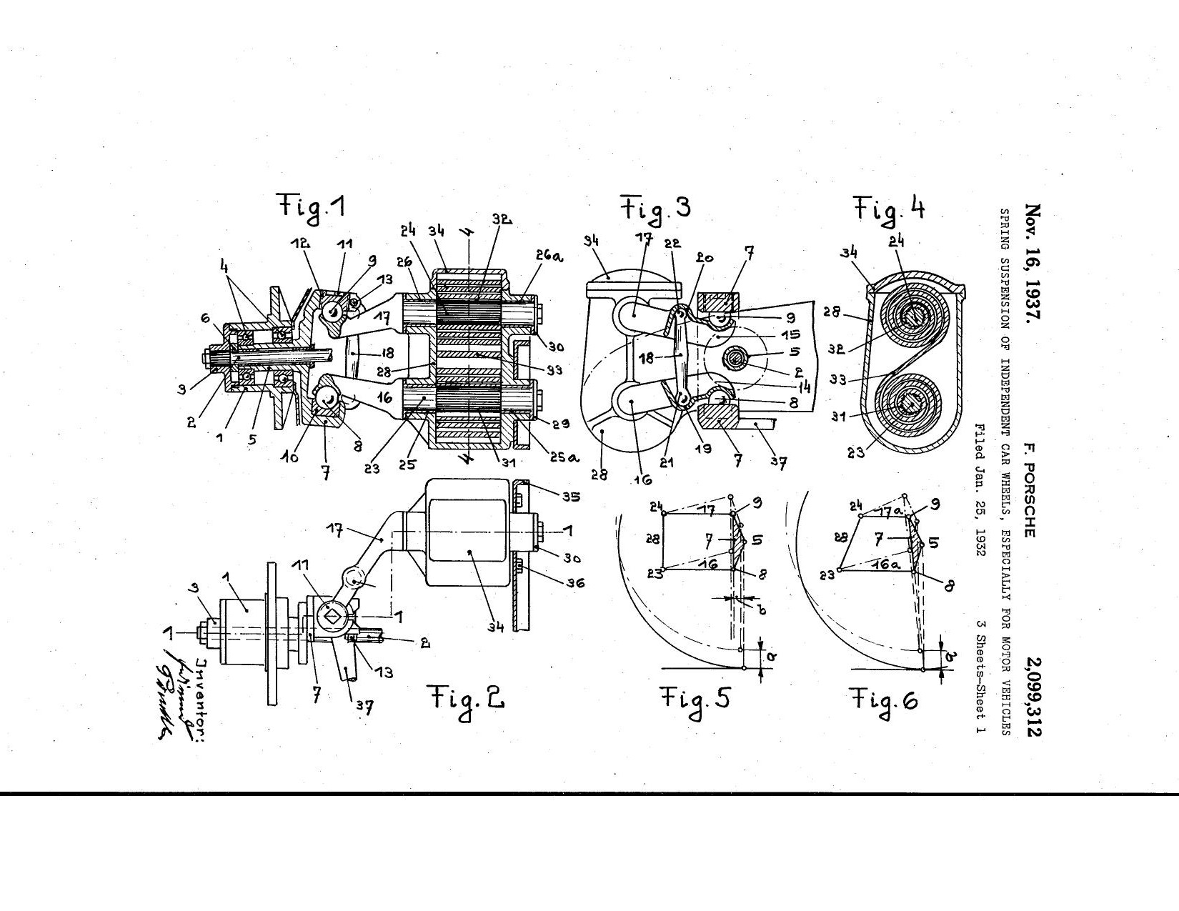
1932, Ferdinand Porsche patent: spring suspension of independent car wheels (typ 21)

No Subscription? You’re missing out

Get immediate ad-free access to all our premium content.

Get Started